Kitchenaid Refrigerator Manual Krfc300Ess01 Troubleshooting Furnace / Kitchenaid Refrigerator Water Filters Kitchenaid - There are a couple of ways to find the part or diagram you need:

Kitchenaid Refrigerator Manual Krfc300Ess01 Troubleshooting Furnace / Kitchenaid Refrigerator Water Filters Kitchenaid - There are a couple of ways to find the part or diagram you need:. Click a diagram to see the parts shown on that diagram. Fast download of your user's manual. Get your user's manual online, download it in less than 2 minutes. Register your new refrigerator at www.kitchenaid.com. More than 25,000 manuals online

Fast download of your user's manual. For future reference, please make a note of your product model and serial numbers. If the condenser coils are dirty, they won't dissipate the heat effectively. Kitchenaid refrigerator krfc300ess01 troubleshooting and repair help we've put together a list of symptoms for kitchenaid refrigerator model krfc300ess01 below. We have use and care manuals for kitchenaid model krfc300ess01 and our expert installation videos for kitchenaid model krfc300ess01 below will help make your repair.

Kitchenaid Refrigerator Krfc300ess User Guide Manualsonline Com
Kitchenaid Refrigerator Krfc300ess User Guide Manualsonline Com from pdfasset.owneriq.net
Kitchenaid krfc300ess refrigerator user manual. Get your user's manual online, download it in less than 2 minutes. Click on your symptom to see what causes it and how to fix it. More than 25,000 manuals online What to do if your kitchenaid is discontinued? How to troubleshoot a kitchenaid refrigerator with repair clinic? For future reference, please make a note of your product model and serial numbers. There are a couple of ways to find the part or diagram you need:

Where do you register a kitchenaid refrigerator in canada?

Why is my kitchenaid ice maker not working? These can be located on the inside wall of the refrigerator compartment. We have use and care manuals for kitchenaid model krfc300ess01 and our expert installation videos for kitchenaid model krfc300ess01 below will help make your repair. Chat with a representative to help locate the right kitchenaid ® manuals or guides. For future reference, please make a note of your product model and serial numbers. Register your new refrigerator at www.kitchenaid.com. Browse our list of common symptoms until you see something familiar. In canada, register your refrigerator at www.kitchenaid.ca. Kitchenaid krfc300ess refrigerator user manual. For future reference, please make a note of your product model and serial numbers. The condenser coils are usually located under the refrigerator. These can be located on the inside wall of the. Create an account in the owners center to quickly access material for your registered appliances.

In the search box below, enter all or part of the part number or the part's name. There are a couple of ways to find the part or diagram you need: We have use and care manuals for kitchenaid model krfc300ess01 and our expert installation videos for kitchenaid model krfc300ess01 below will help make your repair. Chat with a representative to help locate the right kitchenaid ® manuals or guides. Click on your symptom to see what causes it and how to fix it.

Kitchenaid Krfc704fss Krfc704fps Krfc704fbs User Manual
Kitchenaid Krfc704fss Krfc704fps Krfc704fbs User Manual from manualmachine.com
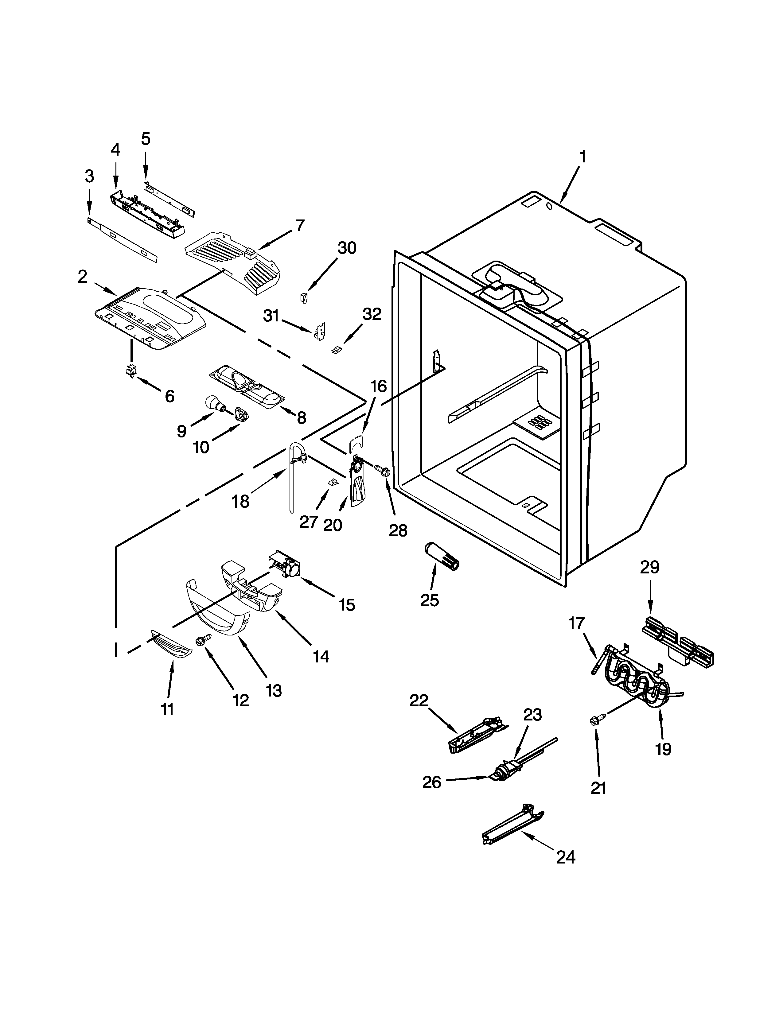
Get your user's manual online, download it in less than 2 minutes. Here are the diagrams and repair parts for kitchenaid krfc300ess01 refrigerator, as well as links to manuals and error code tables, if available. What to do if your kitchenaid is discontinued? Register your new refrigerator at www.kitchenaid.com. We have use and care manuals for kitchenaid model krfc300ess01 and our expert installation videos for kitchenaid model krfc300ess01 below will help make your repair. As debris builds up on the coils, the refrigerator becomes less efficient, causing the refrigerator to work harder to cool down. In canada, register your refrigerator at www.kitchenaid.ca. Chat with a representative to help locate the right kitchenaid ® manuals or guides.

Where do you register a kitchenaid refrigerator in canada?

In canada, register your refrigerator at www.kitchenaid.ca. For future reference, please make a note of your product model and serial numbers. How to troubleshoot a kitchenaid refrigerator with repair clinic? Why is my kitchenaid ice maker not working? What to do if your kitchenaid is discontinued? In the search box below, enter all or part of the part number or the part's name. Click on your symptom to see what causes it and how to fix it. Kitchenaid krfc300ess refrigerator user manual. Create an account in the owners center to quickly access material for your registered appliances. Chat with a representative to help locate the right kitchenaid ® manuals or guides. Where do you register a kitchenaid refrigerator in canada? They dissipate heat as refrigerant passes through them. More than 25,000 manuals online

They dissipate heat as refrigerant passes through them. Fast download of your user's manual. Where do you register a kitchenaid refrigerator in canada? In the search box below, enter all or part of the part number or the part's name. More than 25,000 manuals online

Icepure Ukf8001 Replacement Whirlpool Filter 4 Everydrop Edr4rxd1 Fmm 2 Maytag Ukf8001axx 200 9084 4396395 Mpf15090 Wf Ukf8001 Wf295 Sgf M9 Puriclean Ii Rwf0900a Refrigerator Water Filter 2pack Appliances Amazon Com
Icepure Ukf8001 Replacement Whirlpool Filter 4 Everydrop Edr4rxd1 Fmm 2 Maytag Ukf8001axx 200 9084 4396395 Mpf15090 Wf Ukf8001 Wf295 Sgf M9 Puriclean Ii Rwf0900a Refrigerator Water Filter 2pack Appliances Amazon Com from m.media-amazon.com
The top three symptoms for krfc300ess01 are leaking, noisy, and fridge too warm. In canada, register your refrigerator at www.kitchenaid.ca. Get your user's manual online, download it in less than 2 minutes. Get your user's manual online, download it in less than 2 minutes. More than 25,000 manuals online We have use and care manuals for kitchenaid model krfc300ess01 and our expert installation videos for kitchenaid model krfc300ess01 below will help make your repair. There are a couple of ways to find the part or diagram you need: Kitchenaid krfc300ess refrigerator user manual.

Kitchenaid refrigerator krfc300ess01 troubleshooting and repair help we've put together a list of symptoms for kitchenaid refrigerator model krfc300ess01 below.

If the condenser coils are dirty, they won't dissipate the heat effectively. In the search box below, enter all or part of the part number or the part's name. Where do you register a kitchenaid refrigerator in canada? The top three symptoms for krfc300ess01 are leaking, noisy, and fridge too warm. Fast download of your user's manual. For future reference, please make a note of your product model and serial numbers. Get your user's manual online, download it in less than 2 minutes. Kitchenaid refrigerator krfc300ess01 troubleshooting and repair help we've put together a list of symptoms for kitchenaid refrigerator model krfc300ess01 below. For additional help maintaining your appliances beyond manuals and guides, check out our product help and faq site. More than 25,000 manuals online As debris builds up on the coils, the refrigerator becomes less efficient, causing the refrigerator to work harder to cool down. What to do if your kitchenaid is discontinued? Next, type your model number in the search field so you can find the proper parts to solve your fridge problems.

Post a Comment

Previous Post Next Post